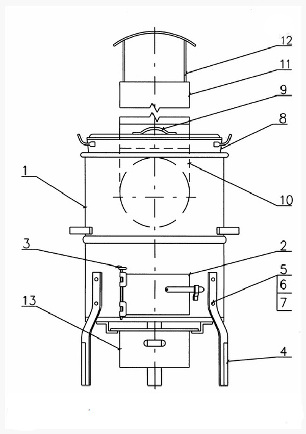
Kotlíková souprava 60litrů - ohřívač vody na zabíjačky, polévku, guláš, vaření brambor - obsahuje kotlík a kouřovod.
Ohřívače pro občasné použití a rekreaci se používají na ohřívání vody, škvaření sádla, vaření povidel, rajčatového protlaku, gulášů, polévek a podobně. Souprava se skládá ze smaltovaného kotle s úchyty pro snadné přenášení.
Na kotel se napojuje kouřovod DN 120.
